


動作原理
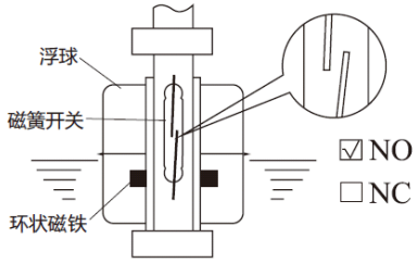
在密閉的金屬或塑料管內,設置一點或多點的磁簧開關,然后將管子貫穿一個或多個,中空而內部裝有環型磁鐵的浮球,并利用固定環, 控制浮球與磁簧開關在相關位置上,使浮球在一定范圍內上下浮動。

常閉(N.C.)當液位上升時磁簧開關不導通
特點
? 可作多點控制, 控制開關位置可以隨著 使用者需要訂制。
? 使用磁簧開關不需供應電源,接點壽命 可達 200 萬次。
? 所有的開關出線在同一接線盒, 外部施 工配線成本低廉。
? 多個開關控制點和其他型式的液位開關 比較, FC(D)型的單價最低。
利用浮球內的磁鐵去吸引磁簧開關的接點,產生開與關的動作,作液位的控制或 指示。下圖為常閉(NC)及常開(NO)時浮球 開關的相關位置。

常開(N.O.),當液位上升時磁簧開關接通
? 接線盒的防護等級皆在 IP-65 以上
? 有PVDF、PP、PVC 塑料材質及 SUS304、 SUS316金屬材質,因此不管酸堿液、或各種燃油,皆有合適產品可配合使用
? 磁簧開關與導線完全和液體隔離, 因此在高溫、高壓設備上亦可安全使用。
適用行業
造船工業、發電機設備、石油化學、食品工業、廢水或凈水設備、電子工業、染整工業、化學工業、橡膠 及塑膠工業、油壓機械等。
浮球材質適用范圍

電氣特性規格

請依照被測物之使用溫度、壓力、比重、耐酸堿等特性,選用上表所列各種規格之浮球。
? 溫度: PVDF 最高溫度為 120℃, PP 最高為 80℃, SUS304/316 最高為 200℃
? 壓力: 塑膠類浮球耐壓最大 5kg/cm2 , SUS 浮球耐壓 35kg/cm(S10 浮球可達 50kg)。
? 粘著: 應選用球徑大、比重小的浮球。才能 克服液體表面張力。
? 酸堿性:塑膠材質適用于酸堿場所, 如有溫 度考慮時應選用 PVDF。
? 油精: 應使用金屬材質。
? 比重:浮球比重 SG 必須小于被測液體否則 浮球浮不起來。
在訂購時須注意,兩個浮球間最小間距及最底點的最小距 離,如果間距不夠將無法依規格生產制作。
請于訂購時依下表尺寸訂定尺寸
A = 距接續底面的最小距離
B = 兩個浮球間最小間距。
C = 距最底點的最小距離。
D = 一個浮球,兩個水位的最小距離。
E = 螺紋長度。

連桿浮球選型說明


安裝說明


電感性負載
當磁簧開關使用在有馬達、繼電器、螺管線圈 等之有電感性負載的電路中,當磁簧開路瞬間,接 點間將承受一高感應電壓。這樣的感應電壓將造成 磁簧開關的損壞或嚴重縮短磁簧開關的使用壽命。
因此建議一些保護線路如:
RC(緩沖器)、變阻器、二極管。(參考圖四)
電容性負載
當磁簧開關使用在電容性負載的線路中如:電 容器、白熱燈炮、很長的電纜線等, 在開關的接點 間將產生一個驟升(突波)電流。因此建議一些保護 線路: 如突波吸收器或限流電阻器。(參考圖五)

化學特性


浮球規格



動作原理
在密閉的金屬或塑料管內,設置一點或多點的磁簧開關,然后將管子貫穿一個或多個,中空而內部裝有環型磁鐵的浮球,并利用固定環, 控制浮球與磁簧開關在相關位置上,使浮球在一定范圍內上下浮動。

常閉(N.C.)當液位上升時磁簧開關不導通
特點
? 可作多點控制, 控制開關位置可以隨著 使用者需要訂制。
? 使用磁簧開關不需供應電源,接點壽命 可達 200 萬次。
? 所有的開關出線在同一接線盒, 外部施 工配線成本低廉。
? 多個開關控制點和其他型式的液位開關 比較, FC(D)型的單價最低。
利用浮球內的磁鐵去吸引磁簧開關的接點,產生開與關的動作,作液位的控制或 指示。下圖為常閉(NC)及常開(NO)時浮球 開關的相關位置。

常開(N.O.),當液位上升時磁簧開關接通
? 接線盒的防護等級皆在 IP-65 以上
? 有PVDF、PP、PVC 塑料材質及 SUS304、 SUS316金屬材質,因此不管酸堿液、或各種燃油,皆有合適產品可配合使用
? 磁簧開關與導線完全和液體隔離, 因此在高溫、高壓設備上亦可安全使用。
適用行業
造船工業、發電機設備、石油化學、食品工業、廢水或凈水設備、電子工業、染整工業、化學工業、橡膠 及塑膠工業、油壓機械等。
浮球材質適用范圍

電氣特性規格

請依照被測物之使用溫度、壓力、比重、耐酸堿等特性,選用上表所列各種規格之浮球。
? 溫度: PVDF 最高溫度為 120℃, PP 最高為 80℃, SUS304/316 最高為 200℃
? 壓力: 塑膠類浮球耐壓最大 5kg/cm2 , SUS 浮球耐壓 35kg/cm(S10 浮球可達 50kg)。
? 粘著: 應選用球徑大、比重小的浮球。才能 克服液體表面張力。
? 酸堿性:塑膠材質適用于酸堿場所, 如有溫 度考慮時應選用 PVDF。
? 油精: 應使用金屬材質。
? 比重:浮球比重 SG 必須小于被測液體否則 浮球浮不起來。
在訂購時須注意,兩個浮球間最小間距及最底點的最小距 離,如果間距不夠將無法依規格生產制作。
請于訂購時依下表尺寸訂定尺寸
A = 距接續底面的最小距離
B = 兩個浮球間最小間距。
C = 距最底點的最小距離。
D = 一個浮球,兩個水位的最小距離。
E = 螺紋長度。

連桿浮球選型說明


安裝說明


電感性負載
當磁簧開關使用在有馬達、繼電器、螺管線圈 等之有電感性負載的電路中,當磁簧開路瞬間,接 點間將承受一高感應電壓。這樣的感應電壓將造成 磁簧開關的損壞或嚴重縮短磁簧開關的使用壽命。
因此建議一些保護線路如:
RC(緩沖器)、變阻器、二極管。(參考圖四)
電容性負載
當磁簧開關使用在電容性負載的線路中如:電 容器、白熱燈炮、很長的電纜線等, 在開關的接點 間將產生一個驟升(突波)電流。因此建議一些保護 線路: 如突波吸收器或限流電阻器。(參考圖五)

化學特性


浮球規格



